Introduction
Something a little bit different of a blog from me with this one, but as it is along the lines of data acquisition that I have been looking into recently, I thought it might be of interest to some.
I was requested to assist with monitoring a 132kV feed into a station transformer as the surge arrester on one of the phases had been activating during the switching process. Some of you may have seen me using and referring to secondary injection test sets in some of my other blogs. I have two of these at my disposal, a single phase unit from Megger and a three phase unit from Omicron.
The secondary injection tests are usually thought of as supplying voltage and current to test such items as protection relays and transducers. However, the Omicron unit can be provided with ELT-1 hardware and Enerlyzer software options that can turn the 10 digital inputs on the unit into analogue inputs, capable of measuring up to 600V AC / DC. Current shunts are then available to turn currents into mV signals for the Omicron to record alongside voltage signals.
This gives the ability to monitor three voltages and currents simultaneously, up to a 28kHz sampling rate, to look for transients in power systems that can cause surge arresters to trip.
A little bit about surge arresters
Surge arresters are common place on power systems to protect transformer windings and insulators against the effects of switching transients and lightening strikes. They are commonly large stacks of metal oxide resistors housed within ceramic or silicone insulators. Higher powered units will have internal fibreglass supports to prevent damage from the energy they must dissipate. Below is a cutaway diagram of two types of surge arresters supplied by ABB.
They work in the same manner as the varistors found in many electronics applications - except they need to be able to clamp at much higher voltages and dissipate much higher energy levels.
On the circuit that I went to monitor, the surge arresters were a twin stack variety to accommodate the high voltage level. They were designed to clamp at around 130kV. The surge arresters are connected from phase to earth, so in normal operation, they will only see a voltage of 76kV (132kV / 1.732). Here's what they look like in real life, alongside the cable sealing ends, where the overhead busbars transfer to an underground cable and the current / voltage transformer units that provide the signals to the protection systems.
Enerlyzer Software Module
This is an extra piece of software that turns the injection test set into a recording instrument. For certain applications, it can also be run at the same time as the injection testing module, but the inputs have to be shared between the two modules, and therefore the number monitoring channels available is reduced.
This was the option I chose initially, to allow me to set up the monitoring functions away from the actual plant, to save time when on site and conducting the work. The voltage and current signals would need to come from voltage and current transformers installed within the switchyard that would reduce the high voltage and current down to vapes that the Omicron can handle.
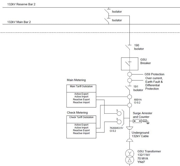
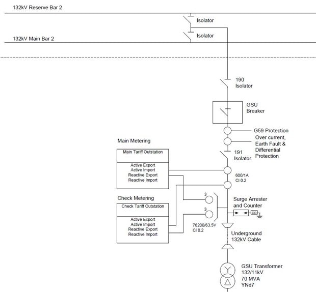
On high voltage installations, voltage and current transformers are provided for metering and protection functions, and it is usually these circuits that are tapped into to obtain the 'measurable signals'. The circuit below is a single line diagram (SLD) representation of the circuit to be monitored.
The position of the surge arrestor causing the concerns, can be seen just above the underground cable feeding down to the transformer. Just up from this is a CT/VT combined unit with a voltage ratio of 76.2kV to 63.5V and a CT ratio of 600:1A. Just above the 191 isolator, there is a CT located with a 400:1A ratio that provides a signal to the protection signals. These are the units that I will tap in to for the signal I require to monitor. In practice, the 600:1A CT signal did not get routed into the panel I was in, so I just used the 400:1A CT signal. These secondary values of 63.5V and 1A, are common values for this type of apparatus.
To use them I need to tell the Enerlyzer software which input to look at and what the input range and ratio will be. This is done from the input configuration screen accessed from the main Enerlyzer screen.
Double clicking on one of the 10 inputs at the bottom will bring up the configuration scheme, on th elf in the picture below, that allows the inputs to be assigned into a 3 phase power system, I have chosen not to do this. A further extension to this screen, seen on the right, allows the parameters to be entered for an individual input.
Input 1 has been configured as a voltage input in the function setting, It is then given the name of V1, set to a range of 600V and in the transformer ratio section, the 132kV to 110V ratio is entered. This is equivalent to the line values of 76.2kV and 63.5V. Inputs 2 and 3 are then configured the same but given the names of V2 and V3 respectively.
Then it is the turn of the current inputs. These had to be entered into Inputs 5, 6 and 7 as the inputs on the Omicron are physically connected into pairs on the common line. Therefore Input 4 can not be used for a input as its common is shorted to the voltage on Input 3.
The current input is configured in a similar manner to the voltage, but with the added option for the clamp ratio, which is set to the ratio of the 5A current clamps I am using. A clamp is a 5A, I set the range up to 10A, to allow for the transformer in rush. The primary ratio of 400:1A is then finally entered to match the CT ratio out on the plant.
With the input configuration completed, I can return back to the main screen of the Enerlyzer software with two further options to set.
The first is the trigger properties. I will leave this to 'immediate' meaning that Enerlyzer will start to collect data as soon as I initialise the program. I also have options to use a power quality signal, such as a sag, swell or a harmonic content that would start the data collection once the preset value of these options has been reached. Alternatively, I can trigger the data collection direct from one of the inputs I have configured when it reaches a predefined value I have set, similar to the trigger function of an Oscilloscope.
The final setting is to set the recording length in the Acquisition parameter section, based upon the sampling frequency chosen. I have set this to a sampling frequency of 28kHz, so the software tells me that I can record the 6 chosen inputs for a maximum of 5.86 seconds. I have therefore set the Acquisition length to 5.5 seconds.
To test the settings, I can set the Omicron up to source some voltages and currents and take a measurement to ensure that I have set everything up correctly. Each video is about 4 minutes long and are split up to go through the software setup, the physical connections to the Omicron and then acquiring some data.
That is all the setting I need to do, to allow me to start recording data. Now I have a car to load up and a 250 mile drive to get to the site.
Out on Site
Picking up voltage signals is relatively easy, as it just requires a connection onto the relative terminal. Current, though has to be picked up in series, so can be a little more troublesome. Relay manufacturers have though of this and provide test blocks / terminals to facilitate with connecting in series for current measurements. The particular system I am use to is the MIDOS MMLG from GEC.
The picture above is from the GE manual, that shows the test block on the left, that would be hard wired into the panel. This contains multiple spring loaded contacts that are wired into the CT circuits. The MMLB01 test block, on the right, contains standard 4mm breakout connections connected to a set of contacts within the MMLB01 that separate the spring loaded contacts in the MMLG01 as the MMLB01 is inserted into it. This provides a make before break connection system that prevents CT secondaries from being open-circuited. To achieve this all connections into the test apparatus, along with shorting links for any unused CT circuits must be made into the MMLB01 block prior to inserting it into the MMLG01.
Unfortunately these systems are not always available, or have all the right signals through them. So to overcome this, I have a small set of 5A current clamps from LEM.
Front of protection panel with Omicron to the side
Wiring run from Omicron into panel
VT Connections onto Terminal rail and CT connections around cables
With these connections made, it is just a matter of coordinating the manual triggering of the test set in conjunction with the closure of the 132kV breaker. The Omicron will record the data ready for us to analyse.
Analysing the data
Switching 132kV breakers to energise a large transformer is highly procedural and is done in conjunction with the local network operators to ensure that we do not de-stabilise the grid supply and upset other customers. We therefore only got two recordings completed in the two weeks I was up on site. Don't worry though, I had to collect a lot of information to carry out arc flash risk assessments for the site, so I wasn't stuck in the hotel waiting for switching instructions.
The Omicron software suite includes an analysis package called Transview that allows the data collected to be viewed as a number of waveforms. When initially loaded, the waveforms are seen as an RMS value, as seen in the first screenshot. This can be good for a quick overview of the data, but for in depth analysis, instantaneous values should be displayed. In this view, the actual waveforms can be seen and more extensive analysis carried out.
Transview Average Voltage View
Transview Instantaneous Voltage View
The waveforms can be zoomed in so that the duration of individual peaks can be determined. Looking in close detail, it can be seen that a peak voltage of 108.7kV occurred on Phase 2 for a duration of 1ms. This is not sufficient a spike to cause the surge arrester to operate, which it did do during the switching operation, confirmed by the increase in the operation counter.
Transview Voltage View over 1 Second
Transview Voltage View over 100mS
The same set of waveforms can also be viewed for the current on each phase. All three phases clearly show an inrush over the first few seconds that would be typical for the energisation of a large transformer. Zooming on these current waveforms shows the non-sinusoidal shape to them, indicative of the harmonics caused as the transformer is energised. Whilst the amplitude of these drops over time, a full sine wave is never observed, as the transformer remained on light load, with only the magnetising current flowing onto the transformer. Again, this magnetising current has a high harmonic content and will distort the waveforms.
Transview Instantaneous Current View
Transview Current View over 1 Second
Transview Current View over 100mS
The harmonic content can be displayed in a histogram style plot for further analysis and breaking down the content of the waveform into the various harmonic orders, to a much finer detail than offered by most energy analysers. This content can also be displayed in a tabular format to be able to view specific values.
Transview Instantaneous Harmonics View
Transview Instantaneous Harmonics View
No real recording opportunities on site of the actual data acquisition, but I did take a sneaky video of a 132kV off-load disconnector being closed. This is actually a motorised one, which I am not used to. I generally operate in the poor relations switchyard and have hand operated disconnects.
Conclusions
Whilst the energisation of the transformer has been successfully monitored, the case of the surge arrester tripping has not been determined. The data suggests that the surge arrester should not have operated and therefore more analysis will need to be done to find out if the fault potentially lies within the surge arrester itself or the operations counter. The particular counter fitted has the ability to display the leakage current for a short duration, activated by shining a laser pointer into a photodiode installed on it. This was carried out to see if the red phase surge arrester had a higher leakage than the other two phases, potentially indicating that the surge arrester may be faulty.
L1 phase showed 0.68mA leakage, L2 phase showed 0.63mA and L3 phase showed 0.65mA. They all seem to be balanced and do not indicate a faulty arrester.
To carry out more monitoring a current clamp will be utilised to monitor the current through the operations counter to see if it is a genuine operation, or if the counter is over sensitive. The counter requires at least 10A for it to operate, whilst this magnitude can be easily measured, it will be a very fast pulse and therefore the current clamps available will need to be reviewed to determine their suitability.
The existing 5A clamps are not physically large enough to go around the cable for the operations counter and have a 5kHz bandwidth. I do have a set of Flex Probes from a LEM energy analyser. These are Rogowski type coils and should therefore have the required frequency bandwidth to detect short pulses. Rogowski coils however, need an integrator with a low pass filter feedback to produce a linear representation of the current flowing. This appears to be built into the analyser and will therefore need to be emulated before this probes can be utilised.
If I can manage to work this out, the modification of these probes for use with the Omicron will form a different blog in the future.
























Top Comments