| Buy NowBuy Now | Development Tools | Technical Documents | Video | Features | Kit Contents | 
![]()  | Kit Overview 
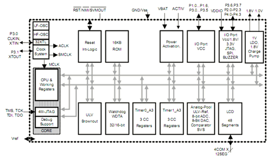
 The AFE4110AFE4110 Demo Pen (AFE4110DPENEVMAFE4110DPENEVM) demonstrates an accurate low-cost single-chip temperature measurement solution based on the AFE4110AFE4110. This device is a general-purpose low-cost 1.5V microcontroller optimized for the temperature measurement application with features like an internal 1.85V/3.3V charge-pump for LCD/GPIO interface, buzzer driver and ultra low power sleep mode. 
 The termperature measurement is done using an external thermistor with a negative temperature coefficient (NTC) characteristic (resistance decreases with increasing temperature). The thermistor response has been calibrated using two temperature points (at 31 degrees Celcius and 43 degrees celcius), for an overall typical accuracy of +/-0.1 ºC over that range, when measured in a calibration bath. The system has not been designed to measure human body temperature and should not be used for health diagnosis purposes. 
 The AFE4110AFE4110 CPU architecture is based on the popular ultra low power Texas Instruments MSP430 RISC processor.The AFE4110AFE4110 configuration with two 16-bit timers, integrated 48-segment LCD driver, programmable Analog Pool, supply voltage monitor and internal reference voltage source is particularly well suited for implementation of low cost digital thermometers operating from a single cell SR60 battery. 
 The capability to correct the on chip high frequency oscillator output facilitates the generation and measurement of real time intervals. For many applications, this capability allows system designers to eliminate a clock crystal from the system BOM. 
 Key applications: Any application requiring a full analog signal chain and an LCD display driver such as digital thermometers, pedometers, thermostats, and other portable single alkaline battery devices.  | |||||||||||
  | ||||||||||||
Development Tools
Software Development Tools:
| Tool Type | Supplier | MPN | Supported Family | Description | 
|---|---|---|---|---|
| IDE | Texas Instruments | Code Composer Studio (CCStudio) | ALL TI MCUs | CCStudio is an integrated development environment (IDE) for TI embedded processor families. CCStudio comprises a suite of tools used to develop and debug embedded applications. It includes compilers for each of TI's device families, source code editor, project build environment, debugger, profiler, simulators, real-time operating system and many other features. Learn More | 
Hardware Development Tools:
| Tool Type | Supplier | MPN | Supported Family | Description | 
|---|---|---|---|---|
| Debugger / Programmer | Texas Instruments | MSP-FET430UIFMSP-FET430UIF | MSP430 | MSP430 USB Debugging Interface | 
| Debugger / Programmer | Texas Instruments | MSP-FET430PIFMSP-FET430PIF | MSP430 | MSP430 Parallel Port Debugging Interface | 
| Programmer | Texas Instruments | MSP-GANGMSP-GANG | MSP430 | MSP-GANG Production Programmer | 
Technical Documents
Learning Center
| Type | Description | 
|---|---|
| User Guide | TI: User's Guide of AFE4110DPENEVM | 
| Datasheet | TI: Data Sheet of Mixed Signal Microcontroller, AFE411 | 
Design Elements
| Type | Description | 
|---|---|
| Application Library | TI: Capacitive Touch Sense Library | 
| Code Snippet | TI: Data Encryption Standard | 
| Simulation Model | TI: Simulation Model of AFE4110 | 
Video
Kit Features
- Low cost single chip temperature measurement solution
 - Performance and low cost: New, lowest price point for an MSP430 16-bit MCU with integrated LCD.
 - Ultra-low power: Operating on a 1.5-V supply, the AFE4110 draws a low active current of 50 uA/MHz and sleep mode current of less than 0.3 uA.
 - Reduced system cost
- The low-cost AFE4110AFE4110 has an integrated LCD and highly accurate oscillator, eliminating the need for an external crystal.
 
 - Overall typical calibrated accuracy of +/- 0.1 ºC over the temperature range of 31 ºC and 43 ºC
 - Murata NTC thermistor NCP15WB473J03RC
 - 128k-bit SPI EEPROM
 - Piezo-buzzer to indicate the end of the temperature display
 - LCD for audio-visual display
 - Push-Button Switch to bring the AFE4110 out of the LPM5 mode
 - JTAG header for programming/debugging purposes
 - Operates on a 1.5V coin cell battery
 
Kit Contents
- Demo Pen
 - Programming Cable
 - A 1.5-V button-cell battery
 
			    




