| BUY NOWBUY NOW | Development Tools | Technical Documents | Video | Features | Kit Contents |
![]() | Kit Overview
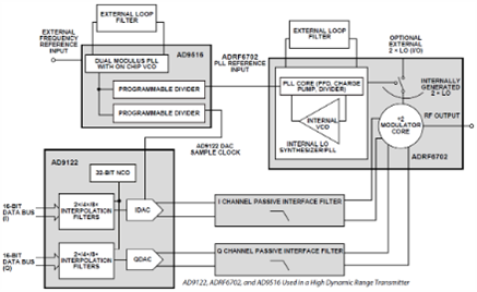
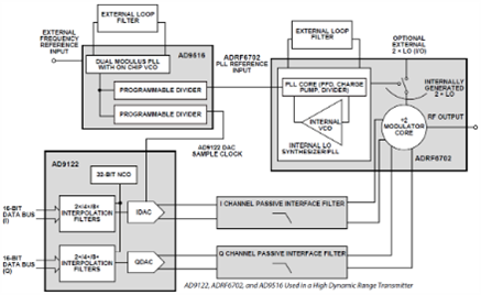
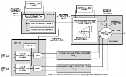
The combination of the ADRF6702ADRF6702 IQ modulator and the AD9122AD9122 16-bit dual 1.2 GSPS TxDAC has the dynamic range necessary for a modern high level QAM or OFDM based wireless transmitter. The dynamic range of this circuit (EVAL-CN0243-EB1ZEVAL-CN0243-EB1Z) is good enough to enable both ZIF (zero IF/ baseband) and CIF (complex IF up to 200 MHz to 300 MHz). The AD9122 has the option of up to 8× interpolation, as well as a 32-bit NCO for very fine IF frequency selectivity.
The ADRF6702ADRF6702 includes an on-board fractional PLL for LO generation so that a low frequency reference (typically less than 100 MHz) is all that is necessary to synthesize the IQ modulator LO. Using the PLL in the AD9516-4BCPZAD9516-4BCPZ clock generator allows a single reference to generate both the DAC sample clock and the PLL reference for the ADRF6702.
The circuit was built using the AD9516-0AD9516-0, but other members of the AD9516-4BCPZAD9516-4BCPZ family could be used depending on the desired internal VCO frequency.
The ADRF6702ADRF6702 IQ modulator is a unique device in several respects. In addition to its exceptional dynamic range, it also includes a fractional-N PLL, which allows programming of discrete LO frequency steps of less than 25 kHz while at the same time keeping the overall frequency multiplication small enough to avoid a large increase in phase noise from the reference to the synthesizer output.
Key Applications: Communications | |||||||||||
| ||||||||||||
Developement Tools
Hardware Tools
- 5 V power supply
- Low phase noise reference source (10 MHz to 200 MHz range @ +3 dBm), Rohde & Schwarz SMA100, low noise option, or equivalent
- DPG2 Digital Pattern Generator from Analog Devices
- High dynamic range spectrum analyzer, Agilent E4440A or equivalent
- Analog Devices EVAL-ADF4XXXZ USB Adapter
Software Tools
- DPG2 Software (included with DPG)
- ADRF6702 software
Technical Documents
Learning Center
Design Elements
| Type | Description |
|---|---|
| Schematics | ADI: Schematics File for EVAL-CN0243-EB1Z |
| Layout | ADI: Layout File for EVAL-CN0243-EB1Z |
| BOM | ADI: BOM File for EVAL-CN0243-EB1Z |
| Simulation Model | ADI: IBIS Model for AD9122 |
Video
Kit Features
Key Feature for ADRF6702ADRF6702 are as below:
- IQ modulator with integrated fractional-N PLL
- Output frequency range: 1200 MHz to 2400 MHz
- Internal LO frequency range: 1550 MHz to 2150 MHz
- Output P1dB: 13.1 dBm @ 2140 MHz
- Output IP3: 29.1 dBm @ 2140 MHz
- Noise floor: −159.6 dBm/Hz @ 1960 MHz
- Baseband bandwidth: 750 MHz (3 dB)
- SPI serial interface for PLL programming
- Integrated LDOs and LO buffer
- Power supply: 5 V/240 mA
Key features for AD9122AD9122 are as below:
- Flexible LVDS interface allows word, byte, or nibble load
- Single-carrier W-CDMA ACLR = 82 dBc at 122.88 MHz IF
- Analog output: adjustable 8.7 mA to 31.7 mA, RL = 25 Ω to 50 Ω
- Integrated 2×/4×/8× interpolator/complex modulator allows
- carrier placement anywhere in the DAC bandwidth Gain, dc offset, and phase adjustment for sideband suppression
- Multiple chip synchronization interfaces High performance, low noise PLL clock multiplier
- Digital inverse sinc filter Low power: 1.5 W at 1.2 GSPS, 800 mW at 500 MSPS, full operating conditions
Kit Contents
The Analog Devices EVAL-CN0243-EB1ZEVAL-CN0243-EB1Z is supplied with below contents:
- Evaluation Board






