| Buy Now | Development Tools | Technical Documents | Video | Features | Kit Contents |
Kit Overview
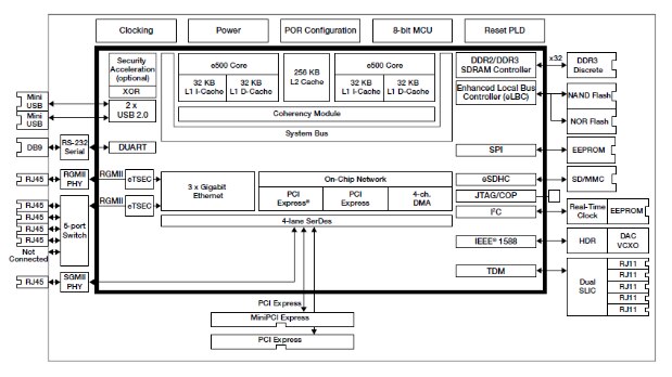
Freescale’s P1020RDB is a highly integrated reference design board that can help shorten your time to market. The reference design is aimed at networking, wired and wireless access, industrial and medical applications. This cost-effective board is based on the QorIQ P1020 processor family, along with leading-edge external components to help you quickly design and implement your target application.
The P1020RDB leverages the P1020 processor and supports both the dual-core P1020 and single-core P1011 configurations. The P1020 processor family is based on the e500 core, built on Power Architecture technology, which has a core frequency range of 533–800 MHz, and supports a 32 KB instruction and L1 data cache and a shared 256 KB frontside cache. The P1020 also supports three Gigabit Ethernet controllers with IEEE
Key Applications: Connectivity( EtherCAT, IEEE | ||||||||||||
| ||||||||||||
Development Tools
Software Development Tools:
| Tool Type | Supplier | MPN | Supported Family | Description |
|---|---|---|---|---|
| IDE | Freescale | CodeWarrior | All Freescale MCU's | Freescale's software and development solutions take you beyond the silicon, helping to bring your embedded applications to life. Learn More |
Technical Documents
Learning Center
| Type | Description |
|---|---|
| Product Brief | Freescale: Fact Sheet For P1020/P1011 Reference Design Board |
| Revision Note | Freescale: Errata For CodeWarrior Power Architecture(v10.1.1) |
| Application Note | Freescale: AN4259: Design Checklist For P1020 Family QorIQ Integrated Processors |
| Selection Guide | Freescale: Processor Selector Guide For PowerQUICC and QorIQ |
| Datasheet | Freescale: Hardware Specifications For P1020 QorIQ Integrated Processor |
| Reference Manual | Freescale: Reference Manual For P1020 QorIQ Integrated Processor |
Design Elements
| Type | Description |
|---|---|
| BSP | Freescale: SDK Release Notes |
| BSP | Freescale: SDK Release Notes for Patch(v 1.0.2) |
| Application Library | Freescale: Software Bundle For P1020 WLAN |
Video
Kit Features
- Memory
- 512 MB DDR2
- 16 MB (128 MB device) NOR flash memory
- 32 MB NAND flash memory
- 16 MB SPI ROM
- PCI Express Interconnects
- One standard PCI Express connector (x1)
- One mini PCI Express connector (x1)
- Ethernet
- Six 10/100/1000 ports as follows:
- Four ports from L2 switch connected
- to eTSEC1
- One SGMII PHY connected to eTSEC2
- One RGMII PHY connected to eTSEC3
- IEEE 1588 v2
- Clock input from DAC/VCXO circuitry
- Accessible via test header
- System Integration
- Dual I2C
- SD/MMC card slot
- Dual USB
- Mini AB connectors on I/O panel (default)
- UARTs
- One DB9 connector
- Dual SLIC for FXS/FXO interfaces
- Mini-ITX Form Factor
- 170 mm x 170 mm
- 6-layer PCB routing (4-layer signals,2-layer power and ground)
- Lead-Free (ROHS), CE and FCC Certification
Kit Contents
- P1020RDB-PB Board Only





