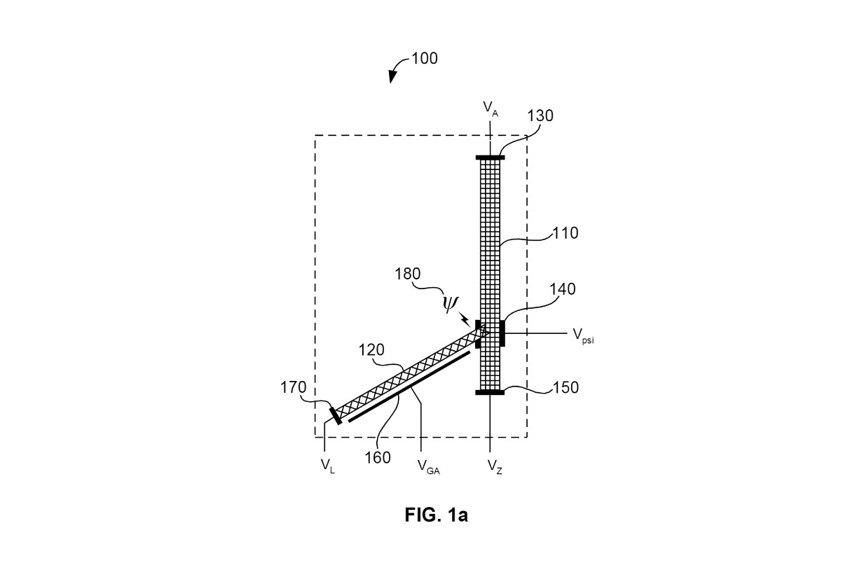
A newly filed patent describes the conscious gate transistors as psychotronically steerable bifurcated nanotube-based, and their use in implementing conscious input and output devices. (Image credit: Jerry Harthcock via GitHub)
Back during the Cold War, the US and Russia were engaged in more than nuke stockpiling and military buildup. The flavor of the day was espionage, knowing what the other country was up to, in terms of developing new weapons, was vital for both sides. One of the more unconventional methods of espionage employed was known as “remote viewing,” where teams of psychics drew or described what was happening or, or more often than not, what was stored at specific locations, places satellites couldn’t “see.”
As the Cold War drew to a close, and because none of the psychics were able to remotely see anything of strategic value (or much less win the lottery), the remote viewing programs were subsequently shut down. Still seeing the value in their applications, US inventor Jerry Harthcock has filed a patent for the world’s first Conscious Gate Transistor, which could be used to create CPUs and other electronics that respond to human thought, making it the ultimate human-machine interface (HMI).
Jerry describes the transistors as “psychotronically steerable bifurcated carbon nanotube-based conscious-gate transistors, both tubular and toroidal, and their use in implementing conscious input and output devices, and conscious spiking artificial neural networks for conscious computers and machines that are responsive to human volition alone.”
The CGTs are constructed using a substrate prefabricated with a bifurcated carbon nanotube transistor and/or a carbon nanotorus psychlotron assembly jib etched into it. Either transistor can be outfitted with single-strand human DNA (ssDNA) segments and/or modified by e-beam or ozone gas to add defects, which alters the electrical/functions of the transistors.
The patent is incredibly detailed, to say the least, and makes a good argument of why the transistors could be utilized by thought alone, considering we already have the technology that allows amputees to move artificial limbs via EEG or implants. That said, we probably won’t see thought-controlled robots any time soon.
Have a story tip? Message me at: cabe(at)element14(dot)com

Top Comments