Overview
Steel is one of the major components in building construction because of its constructability and strength. It provides tensile strength capacity to a structural concrete. The combination of steel and reinforced concrete offers a great deal in construction building considering the cost, strength/weight ratio, constructability, sustainability, and etc.
To determine the strength of a steel, a sample undergoes tensile test. This is the common method used in Civil Engineering. However, after the building is constructed, there’s no way to determine the stability and quality of the steel (inside a concrete). No way to determine whether the steel used is a grade 60 or a grade 40.
On the other hand, sensors (sensing devices) are being used to monitor building stability, determination of cracks and damages, vibration, temperature and the like.
Texas Instruments, an electronics company, released the LDC1000 inductance-to-digital converter; a module that measures inductance. It is a contactless and magnet-free sensing technology. The LDC1000 is capable of reading up to a sub-micron resolution and is immune to non-conductive interference such as dirt and dust. The module is also capable of reading rotation, motion, compression, extension and twist of a spring, and metal composition.
This research will develop a platform (scanner and software) that will analyze the data given by the sensor. The platform will produce data such as steel quality, grade, and diameter.
Research Objective
- To develop a device that can scan steel quality and property (inside a concrete).
- To develop an online platform that analyzes data given by the device.
- To determine the relationship between steel quality and its inductance.
Scope and Limitation
This research aims to develop a scanning device and an online platform (software). Part of this research will determine the relationship between steel quality (acquired data using traditional method) and its inductance. In this study, the researcher will use two steel (rebar) sizes: 10mm and 12mm and three grades for each; grade 33, 40, and 60. To get a comparable inductance, the following readings will be taken:
- Inductance of a steel (bare) with varying distance from 0 to 2 inches.
- Inductance of a steel inside a concrete with a 2 inches and 4 inches thickness.
- Readings will be taken
- 24hrs after casting
- after 14 days of curing
- after 28 days of curing
- after 5 days of drying
- Readings will be taken
Significance of the study
While traditional method is a very reliable way of determining steel quality. This study will help in the following areas:
- Advances the technology in determining quality and strength of a building.
- Help building evaluators validate data given by the contractor.
Conceptual Framework
This chapter discusses the concept and foundation of the study; architecture, system design, and logical framework.
Scanning Device
The main component of the scanning device is the Texas Instrument’s LDC1000EVM. An additional coil will be used to increase sensitivity. This device will be connected to a computer via USB port. Data will be accessed via serial port.
LDC1000 Evaluation Module
Sensor connection
Software
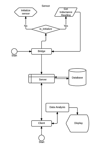
The researcher will develop two software. One which will communicate to the sensor and the server, this will serve as a bridge between the sensor and the central server, and an online client which will analyze the data given by the sensor.
Sensor-client-server communication
System Process
Methodology
The research involves several processes: sensor evaluation, bridge/driver development, data gathering, Server and client development, and evaluation.
Sensor Evaluation
The sensor will be evaluated on the following properties: driver and API, system requirements, limitations, and the like. An additional coil will be used depending on the requirement; distance between the object and the sensor.
Bridge/Driver Development
The bridge will be developed using MatLab. The bridge will communicate with the server for data storage and analysis. This software will directly communicate with the sensing device.
Data Gathering
Data gathering will have three phases: inductance reading before the tensile test, tensile test using a UTM, and inductance reading on a sample with a reinforced concrete.
This study will use two diameters of rebars; 10mm and 12mm and three grades for each; grade 33, 40 and 60.
Device Reading (w/o concrete)
Device readings such as proximity and inductance will be taken and with varying distance from 0 to 2 inches.
Tensile Test
Half of the samples will undergo Tensile Test using a UTM. Data such as minimum and maximum stress will be recorded.
Device Reading (w/ concrete)
Samples will be placed on a casted concrete at 2 inches and 4 inches thick. Inductance reading will be taken after 24hrs, on the 14th day, 28th day, and after 5 days of drying.
Client and Server Development
A client and server will be developed using MatLab, twitter bootstrap, jquery, html, css, php/python, and mysql as a database. The client will communicate with the server for the display of the processed data.
The server will accept query from the bridge and store the data into its database.
Evaluation
This phase involves data analysis. The main objective of this phase is to find the relationship between strength and inductance. This phase will also determine the accuracy of the device. This will also determine if the study is worthy for further research; such as noise cancellation and machine learning or a development of a better sensor.



