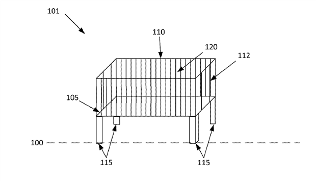
A diagram from the patent Nest filed for the smart crib
(image via Nest/USPTO)
If you're a fan of Tex Avery then you remember the “Home of Tomorrow” cartoons. These shorts showed off futuristic homes where dishes would wash themselves and robots would vacuum the floor. It's 2016 and while we have gadgets like Roomba to help around the house, we're still pretty far from a house that can take care of everything itself. But thanks to a new patent from Nest, we may be closer to the nursery of the future. This is similar to an idea I proposed to someone... As a father, myself, I want something like this.
Nest, known for its Wifi enables thermostat and smart smoke alarm, recently filed for a patent for a “smart baby crib” equipped with sensors. The patent lists Maxime Veron, Nest's director of product management and hardware marketing, as its inventor. So what exactly is a smart crib? When it's time to shop for a nursery, there's usually several pieces to purchase: the crib, baby monitors, and cameras to name a few. This new patent from Nest would eliminate the need to buy these parts separately. Instead, the crib comes packed with cameras, microphones, a communication device, and sensors to track the baby's movements. It can even note a “deviation from the pattern of behavior.”
The patent lists some of the features of the potential crib, such as temperature and air sensors that can be used to detect if the baby's coughing, sick, or needs a diaper change. And if you're worried about your tyke escaping the crib and exploring the house unattended, the crib comes packed with locking mechanisms to prevent break outs. Aside from keeping an eye on the baby, the crib also aims to make the baby as comfortable as possible. If they're crying, the crib may start playing cartoons or a gentle lullaby to calm down the little one. If the baby wakes up before the parents, the crib could display soothing LED lights to lull it back to sleep.
It sounds great and may take away some of the worries of looking after a baby, but you still have to change the diapers. So far, Nest has only applied for the patent; it doesn't necessarily indicate a future product, but we can hope. The smart crib would mark Nest's first entirely new device since being bought by Google in 2014. Right now, the company has been focused on updating their current products, like the NestCam security camera. The smart crib sounds like every parents' dream. If it actually does what the patent is describing, it could ease baby bed time blues. If the patent is successgul, it makes you wonder what other smart products are in the works. How long will it be until see the a smart bottle feeder?
Have a story tip? Message me at:
Top Comments