Can someone please share me detail on how to see trapezoidal wave in TMC9660 driver board using osciloscope.
Can someone please share me detail on how to see trapezoidal wave in TMC9660 driver board using osciloscope.

Showing error in microcontroller board when board configuration set to TMC-9660-3PH(PRAM)
That may be expected behaviour until you manually configure the appropriate parameters and apply power to the motor.
Was the fault LED also lit on the TMC9660-3PH-EVAL board ? If so it may be passing the error condition from the TMC9660 device.
Perhaps take a look at the default configuration states after power on/reset and set the parameters appropriately for your use case.

That may be expected behaviour until you manually configure the appropriate parameters and apply power to the motor.
Was the fault LED also lit on the TMC9660-3PH-EVAL board ? If so it may be passing the error condition from the TMC9660 device.
Perhaps take a look at the default configuration states after power on/reset and set the parameters appropriately for your use case.

Fault LED was off.
Looks like 'VM is not available' is one of the error conditions that would cause it to light.

Another reference to checking the power supply if the error LED glows:

Tried it, still not working. Need someway to set Wizard Pool of the software.
What did you try and what did you observe ? You need to be more specific.
Was the motor power turned on when you initially reported that the error LED was lit when using PARAM mode ?
If not, does turning the motor power on change the state of the error LED ?
Do you get a VM voltage reading displayed in the TMCL-IDE ?
If not did you check if VM was present on the landungsbruecke board ?
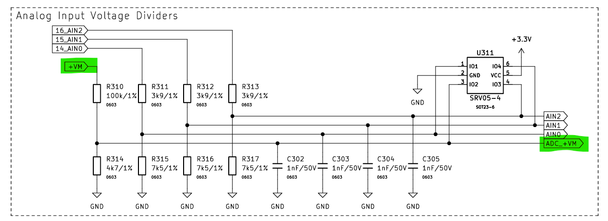
Looks like it appears on pin 1 of the interface connector

and passes through a voltage divider before being presented to the ADC of the interface microcontroller

The Wizard Pool should make it easier, otherwise you will need to configure the params/registers manually.
It's probably not showing though as it looks like you have skipped over the bootloader configuration stage in the user guide.
How to configure bootloader. VM voltage is displayed on the TMCL-IDE
Is the error LED on the interface board still lit, with a valid VM displayed on the TMCL-IDE ?
Yes. But only when set to param mode in the device setting.
Ok, that may be due to the 'commutation mode' defaulting to 'system off' after a reset.
Perhaps try sending it a status request like GetVersion or GetInfo using the TMCL protocol and see if you get a sensible response back from it.
If so, then you can start using param mode commands to configure the motor board and get the motor turning.
How to do that. Which window to open for doing that.
The Direct Mode dialog you were using before
The list of params for the TMC9660 is available here:
I'd imagine that the TMCL-IDE is supposed to pre-populate the dialog box instruction list with the TMC9660 param list when you select the eval kit from the list, but if not it looks like you can manually enter them as well.
There is a demo with an older version here:
https://youtu.be/wMrv60LYTTw?t=41
using the direct mode to build into a script. However looks like you can execute single command directly from the direct mode dialog box.
If you use a status instruction, it should provide a response that will help confirm that you can at least communicate with the TMC9660 via the USB interface in parameter mode using the TMCL protocol.

