| Buy Now | Development Tools | Technical Documents | Video | Features | Kit Contents |
![]() | Kit Overview Texas Instruments Stellaris
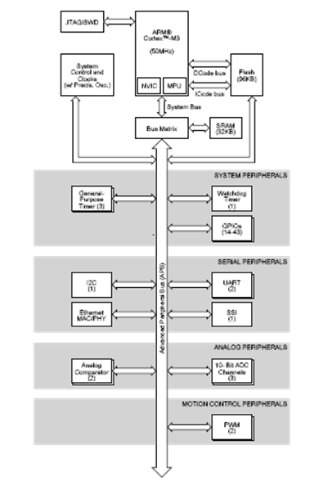
The MDL-S2E is the first serial-to-Ethernet converter available with a highly integrated Cortex
The Stellaris
Ordering Information:
KeyApplications:MotorControl,IndustrialAutomation,WirelessNetworking,Medical,SecurityandAccess,Appliance,Transportation | |||||||||||
| ||||||||||||
Development Tools
Software Development Tools:
| Tool Type | Supplier | MPN | Supported Family | Description |
|---|---|---|---|---|
| Embest | CoIDE | ARM Cortex | CooCox offer freely available powerful software development tool for ARM Cortex-M3 & Cortex-M0 based microcontrollers. Coocox Tools organizes and provides the knowledge required by developers. Learn More |
| RTOS | Embest | CoOS | ARM Cortex | CoOS is a free and open RTOS from CooCox, designed specifically for Cortex-M processor, supports preemptive priority and round-robin, Semaphore, Mutex, Flag, Mailbox and Queue for communication & synchronization, highly scalable, minimum system kernel is only 974Bytes, supports interrupt while task switching, supports stack overflow detection, supports the platforms of ICCARM, ARMCC, GCC. Learn More |
| IDE | Texas Instruments | Code Composer Studio (CCStudio) | TI ARM MCUs | CCStudio is an integrated development environment (IDE) for TI embedded processor families. CCStudio comprises a suite of tools used to develop and debug embedded applications. It includes compilers for each of TI's device families, source code editor, project build environment, debugger, profiler, simulators, real-time operating system and many other features. Learn More |
| IDE | ARM | Keil MDK-ARM | ARM Cortex | The MDK-ARM is a complete software development environment for Cortex |
| RTOS | Micrium | µC/OS-III | TI ARM MCUs | μC/OS-III is Micrium’s newest RTOS, designed for developers who need to save time on their current and next embedded sytem projects. Using a commercial real-time kernel such as μC/OS-III provides a solid foundation and framework to the design engineer dealing with the growing complexity of embedded designs. Learn More |
| RTOS | Segger | TI ARM MCUs | SEGGER embOS (Real Time Operating System) follows strict, yet efficient coding and documentation standards. embOS is a priority-controlled real time operating system, designed to be used as foundation for the development of embedded real-time applications. Learn More |
Hardware Development Tools:
| Tool Type | Supplier | MPN | Supported Family | Description |
|---|---|---|---|---|
Debugger | Embest | ColinkEx | ARM Cortex | ARM Cortex-M MCU JTAG Hardware Debugging Probe which supports in CooCox software and Keil Realview MDK |
| Emulator / Debugger / Programmer | ARM | ULINK2 | ARM Cortex | ULINK2 Debug Adapter |
| Emulator / Debugger / Programmer | ARM | ULINKPro | ARM Cortex | ULINKpro Debug and Trace Unit |
| Emulator | Segger | J-Link | ARM Cortex | JTAG/SWD Emulator with USB interface |
| Programmer | Segger | Flasher ARM | ARM Cortex | Flash Programmer for ARM and Cortex cores |
Technical Documents
Learning Center
Design Elements
Video
Kit Features
The RDK-S2E ships with the MDL-S2E module. The MDL-S2E is a ready-for-production serial-to-Ethernet module with the following features:
- LM3S6432 in a 10 x 10 mm BGA package for reduced board size
- 10/100 Mbit Ethernet port
- Auto MDI/MDIX cross-over correction
- Traffic and link indicators Serial ports
- UART ports include RTS/CTS for flow control
- UART0 has RS232 levels, transceiver runs at up to 230.4 Kbaud
- UART1 has CMOS/TTL levels, can run at 1.0 Mbaud
- Software
- IP configuration with static IP address or DHCP
- Telnet server for access to serial port (VCP software included)
- Web server for module configuration
- UDP responder for device discovery
- Telnet client for Ethernet-based serial port extender
- Module supports 5 V and 3.3V supplies
- Multiple mounting options
- JTAG port pads for factory programming
Kit Contents
- Stellaris Serial-to-Ethernet Module (MDL-S2E ) multiProductLinkRS-232 adaptor board
- Retractable Ethernet cable
- DB9 serial cable
- USB cable
- Reference Design Kit CD containing a Quickstart Guide, User's Manual, Software Reference Manual, Board Data Sheet, source code, BOM, schematics, and Gerber files





