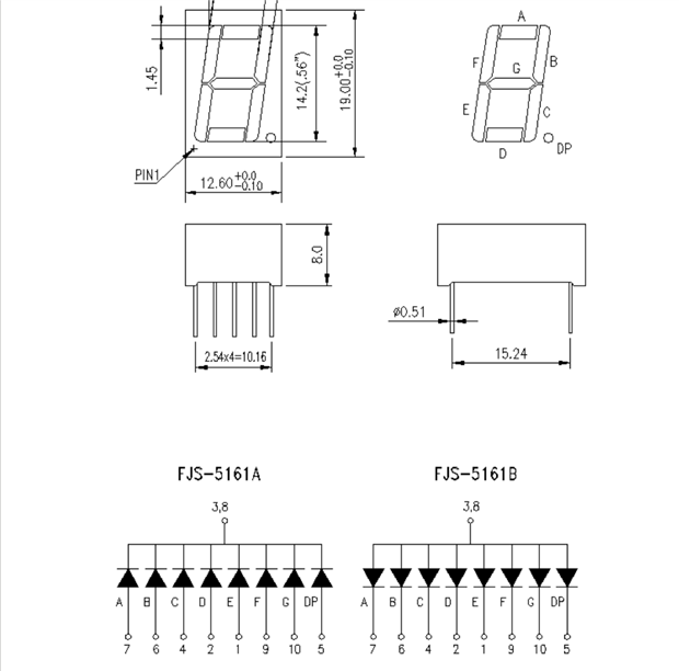
I have a single seven segment display with common anode. This display has following symbol: FJS-5161B. Here is brief information from datasheet for this display:
I have created a kind of PMOD module which contains a single seven segment display, eight resistors with value 150 ohm for limit the LEDs current and pinout socket.
Here is photo of this module:
Here is information about connection between Pmod JD connector and seven segment display:
V15 jd[0] -> D
U12 jd[1] -> C
V13 jd[2] -> B
T12 jd[3] -> A
T13 jd[4] -> DP
R11 jd[5] -> G
T11 jd[6] -> F
U11 jd[7] -> E
I have used Pmod JD connector with their eight pin to direct drive of this module by Arty S7 board. I have created simple module in Verilog which allow to drive this display. Here is source code:
module display(
    input CLK100MHZ,
    input [3:0] digit,
    output [7:0] jd
    );
    
    reg [7:0] outValue;
    always @(posedge CLK100MHZ)
    begin
        case (digit)
        4'h0: outValue <= 8'b00110000;
        4'h1: outValue <= 8'b11111001;
        4'h2: outValue <= 8'b01010010;
        4'h3: outValue <= 8'b11010000;
        4'h4: outValue <= 8'b10011001;
        4'h5: outValue <= 8'b10010100;
        4'h6: outValue <= 8'b00010100;
        4'h7: outValue <= 8'b11110001;
        4'h8: outValue <= 8'b00010000;
        4'h9: outValue <= 8'b10010000;
        default: outValue <= 8'b11111111;
        endcase
    end
    
    assign jd = outValue;
endmoduleWe have here a simple conversion of input digit stored at 4 bits to 8 bits output register which drives output JD pins. Here is source of main design for test this module:
module top(
    input CLK100MHZ,
    output [7:0] jd
    );
    
    reg [3:0] digit = 0;
    display display(
        .CLK100MHZ(CLK100MHZ),
        .digit(digit),
        .jd(jd)
    );
    
    reg [32:0] countReg = 0;
    always @(posedge CLK100MHZ) begin
        if (countReg < 99999999) begin
            countReg <= countReg + 1;
        end else begin
            countReg <= 0;
            if (digit < 9)
                digit <= digit + 1;
            else
                digit <= 0;
        end
    end
    
endmoduleWe have here simple prescaler of source 100 MHz clock. So, in each second we are able to see a different digit on display.
Here is short video presentation of a working display:
Below there is small the same code of display with support for dot point and basic brightness regulation with 15 levels:
`timescale 1ns / 1ps
//////////////////////////////////////////////////////////////////////////////////
// Company: 
// Engineer: 
// 
// Create Date: 22.09.2018 23:43:36
// Design Name: kk99
// Module Name: display
// Project Name: 
// Target Devices: 
// Tool Versions: 
// Description: 
// 
// Dependencies: 
// 
// Revision:
// Revision 0.02 - File Created
// Additional Comments:
// 
//////////////////////////////////////////////////////////////////////////////////
module display(
    input CLK100MHZ,
    input [3:0] digit,
    input dotPoint,
    input [3:0] pulseDuration,
    output [7:0] jd
    );
    
    reg [3:0] pulseStep = 0;
    reg [7:0] outValue;
    always @(posedge CLK100MHZ) begin
        if (pulseStep < pulseDuration) begin
            pulseStep <= pulseStep + 1;
            if (dotPoint) begin
                case (digit)
                4'h0: outValue <= 8'b00100000;
                4'h1: outValue <= 8'b11101001;
                4'h2: outValue <= 8'b01000010;
                4'h3: outValue <= 8'b11000000;
                4'h4: outValue <= 8'b10001001;
                4'h5: outValue <= 8'b10000100;
                4'h6: outValue <= 8'b00000100;
                4'h7: outValue <= 8'b11100001;
                4'h8: outValue <= 8'b00000000;
                4'h9: outValue <= 8'b10000000;
                default: outValue <= 8'b11101111;
                endcase
            end else begin
                case (digit)
                4'h0: outValue <= 8'b00110000;
                4'h1: outValue <= 8'b11111001;
                4'h2: outValue <= 8'b01010010;
                4'h3: outValue <= 8'b11010000;
                4'h4: outValue <= 8'b10011001;
                4'h5: outValue <= 8'b10010100;
                4'h6: outValue <= 8'b00010100;
                4'h7: outValue <= 8'b11110001;
                4'h8: outValue <= 8'b00010000;
                4'h9: outValue <= 8'b10010000;
                default: outValue <= 8'b11111111;
                endcase
            end
        end else begin
            pulseStep <= 0;
            outValue <= 8'b11111111;
        end
    end
    
    assign jd = outValue;
endmodule
Here is source of main design with basic demo of seven segment display. We are able to change brightness by 4 switch buttons sw[3:0] with following levels: 15,11,7,3. The default brightness level is set to 1.
`timescale 1ns / 1ps
//////////////////////////////////////////////////////////////////////////////////
// Company: 
// Engineer: 
// 
// Create Date: 25.09.2018 21:02:57
// Design Name: 
// Module Name: top
// Project Name: 
// Target Devices: 
// Tool Versions: 
// Description: 
// 
// Dependencies: 
// 
// Revision:
// Revision 0.01 - File Created
// Additional Comments:
// 
//////////////////////////////////////////////////////////////////////////////////
module top(
    input CLK100MHZ,
    input [3:0] sw,
    output [7:0] jd
    );
    
    reg [3:0] digit = 0;
    reg dot = 1;
    reg [3:0] pulseValue = 0;
    display display(
        .CLK100MHZ(CLK100MHZ),
        .digit(digit),
        .dotPoint(dot),
        .pulseDuration(pulseValue),
        .jd(jd)
    );
    
    reg [32:0] countReg = 0;
    always @(posedge CLK100MHZ) begin
        if (countReg < 99999999) begin
            countReg <= countReg + 1;
        end else begin
            countReg <= 0;
            if (digit < 9) begin
                digit <= digit + 1;
                dot <= 0;
            end else begin
                digit <= 0;
                dot <= 1;
           end
        end
        if (sw[3])
            pulseValue <= 15;
        else if (sw[2])
            pulseValue <= 11;
        else if (sw[1])
            pulseValue <= 7;
        else if (sw[0])
            pulseValue <= 3;
        else
            pulseValue <= 1;
    end
    
endmodule
Here is short video presentation of second version of display module:
        
    
    
	
	
	
	
   
			    


Top Comments